指南经验网
首页
美食营养
生活百科
知识问答
生活知识
返回
指南经验网
首页
美食营养
游戏数码
手工爱好
生活知识
生活百科
健康养生
运动户外
职场理财
情感交际
母婴教育
时尚美容
知识问答
更多知识
搜索
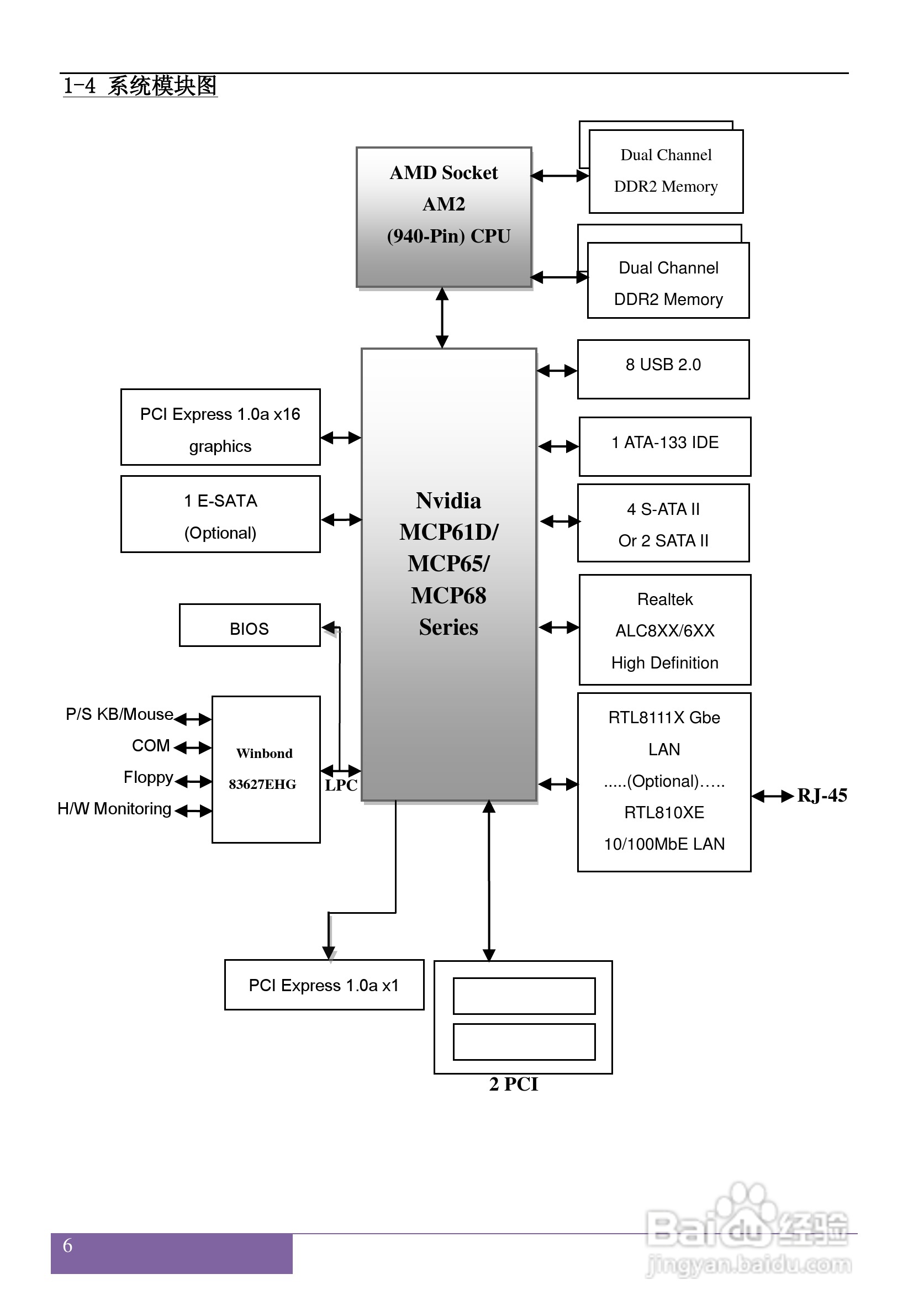
磐正AF520I V40型主板说明书:[1]
2026-04-21 20:45:53
本篇为《磐正AF520I V40型主板说明书》,主要介绍该产品的使用方法以及常见故障解决方案。
(共篇)
下一篇:
相关推荐
磐正AF520I V40型主板说明书:[4]
阅读量:107
磐正AF520I V60型主板说明书:[1]
阅读量:33
磐正AF520I V60型主板说明书:[4]
阅读量:82
磐正AF520I V60型主板说明书:[2]
阅读量:193
主板电源线怎么接组装电脑电源线接法
阅读量:61
猜你喜欢
尿血是什么病
hcl是什么
碧玺是什么
汗斑用什么药
中国传统文化有什么
戒指戴中指什么意思
at什么意思
狗狗冠状是什么症状
copy什么意思
puk码是什么
猜你喜欢
一蹴而就是什么意思
益生菌是什么
bpo是什么意思
给男生送什么礼物好
课长是什么职位
wcb是什么材质
梦见婴儿是什么意思
更年期是什么
黄牛是什么意思
皮肤发黄是什么原因