指南经验网
首页
美食营养
生活百科
知识问答
生活知识
返回
指南经验网
首页
美食营养
游戏数码
手工爱好
生活知识
生活百科
健康养生
运动户外
职场理财
情感交际
母婴教育
时尚美容
知识问答
更多知识
搜索
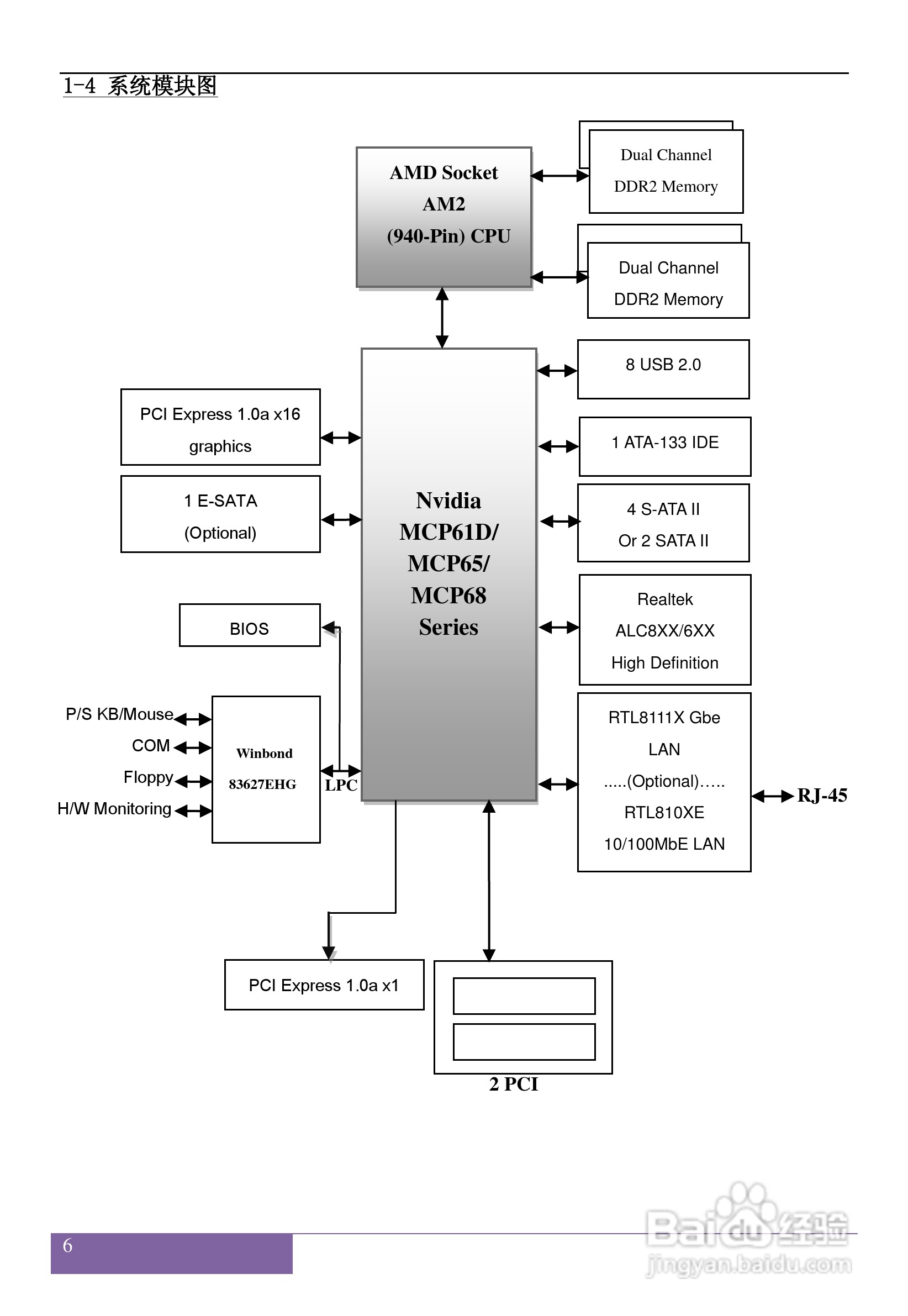
磐正AF520I V60型主板说明书:[1]
2026-04-21 22:22:30
本篇为《磐正AF520I V60型主板说明书》,主要介绍该产品的使用方法以及常见故障解决方案。
(共篇)
下一篇:
相关推荐
磐正AF520I V60型主板说明书:[3]
阅读量:59
磐正AF520I V40型主板说明书:[1]
阅读量:184
磐正AF520I V40型主板说明书:[4]
阅读量:21
磐正AF520I V40型主板说明书:[3]
阅读量:142
主板电源线怎么接组装电脑电源线接法
阅读量:108
猜你喜欢
借款条怎么写
尚品宅配家具怎么样
郴州怎么读
飞鹤奶粉怎么样
企业支付宝怎么注册
狗狗肛门腺怎么挤
茯苓怎么吃
store怎么读
大家的第一次是怎么发生的
手指关节疼痛是怎么回事
猜你喜欢
鸡蛋怎么吃最有营养
鸭腿怎么做好吃
macan怎么读
水煮鱼怎么做
书怎么画
小肚子隐隐作痛怎么回事
口蘑怎么做好吃
手机锁屏密码忘了怎么办
人是怎么来的
微信群发怎么发