指南经验网
首页
美食营养
生活百科
知识问答
生活知识
返回
指南经验网
首页
美食营养
游戏数码
手工爱好
生活知识
生活百科
健康养生
运动户外
职场理财
情感交际
母婴教育
时尚美容
知识问答
更多知识
搜索
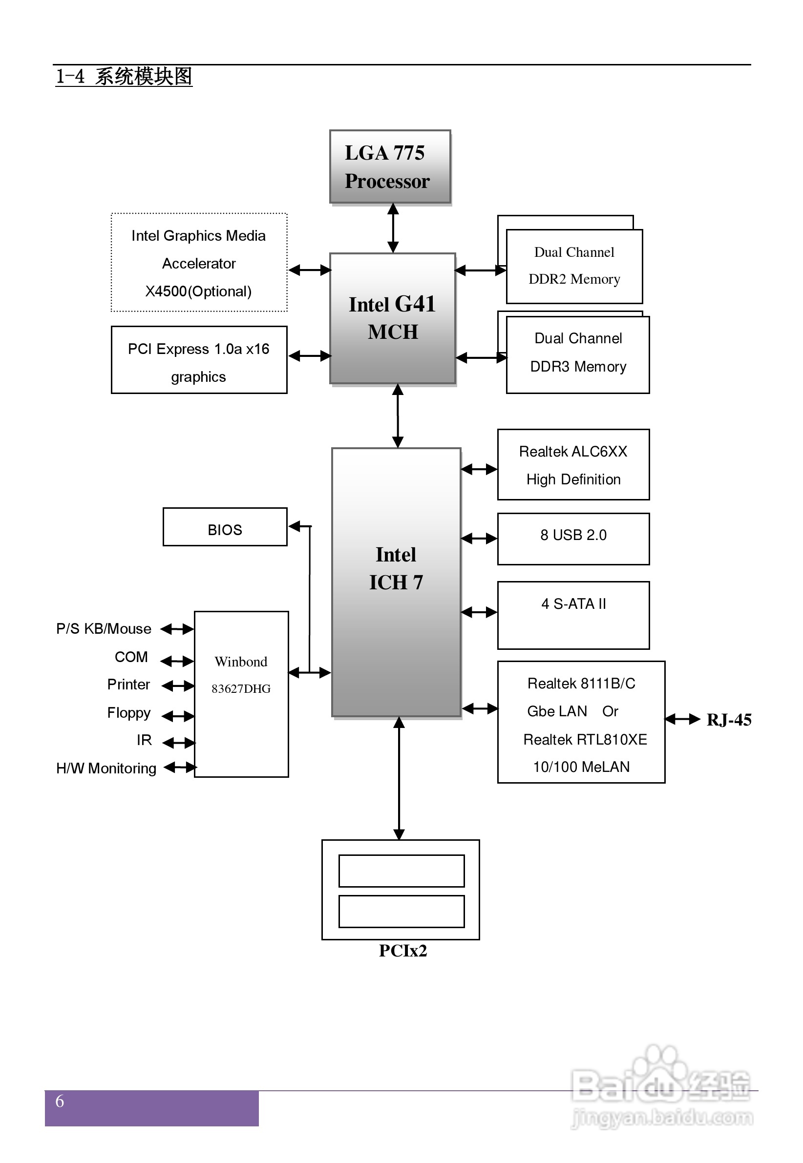
磐正5G41型主板说明书:[1]
2026-04-20 02:16:28
本篇为《磐正5G41型主板说明书》,主要介绍该产品的使用方法以及常见故障解决方案。
(共篇)
下一篇:
相关推荐
富士康A9DA型主板说明书:[8]
阅读量:46
技嘉GA-P35-DQ6型主板说明书:[6]
阅读量:112
技嘉GA-8I955X Pro型主板说明书:[6]
阅读量:170
华擎ConRoe865PE型主板说明书:[8]
阅读量:186
顶星TM-A9M型主板说明书:[5]
阅读量:131
猜你喜欢
march是什么意思
令尊是什么意思
战狼3什么时候上映
心跳快吃什么药
处男是什么意思
9月17日是什么星座
5月23日是什么星座
cas是什么意思
security是什么意思
女生送男生什么礼物好
猜你喜欢
烫伤用什么药
股票停牌意味着什么
结婚十年是什么婚
嬴稷和嬴政什么关系
11月13日是什么星座
could是什么意思
血滴子是什么
dwg格式文件用什么软件打开
京东自营是什么意思
身份证x代表什么