指南经验网
首页
美食营养
生活百科
知识问答
生活知识
返回
指南经验网
首页
美食营养
游戏数码
手工爱好
生活知识
生活百科
健康养生
运动户外
职场理财
情感交际
母婴教育
时尚美容
知识问答
更多知识
搜索
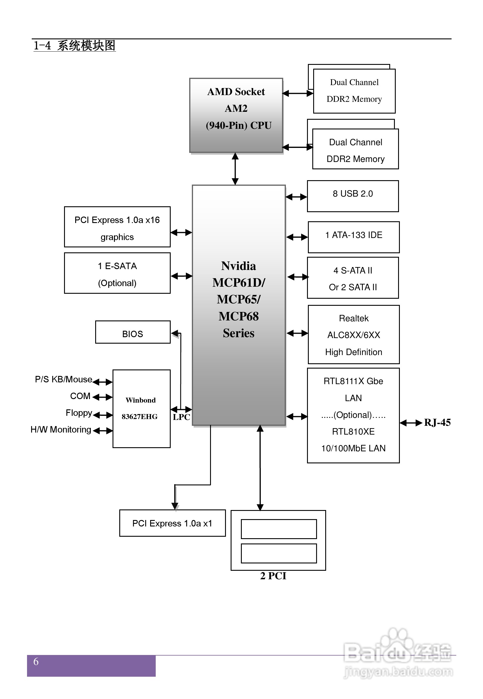
磐正AF520J V40型主板说明书:[1]
2026-04-21 20:51:03
本篇为《磐正AF520J V40型主板说明书》,主要介绍该产品的使用方法以及常见故障解决方案。
(共篇)
下一篇:
相关推荐
磐正AF520J V40型主板说明书:[4]
阅读量:113
主板电源线怎么接组装电脑电源线接法
阅读量:38
磐正AF520J V40型主板说明书:[2]
阅读量:146
磐正AF520J V40型主板说明书:[3]
阅读量:151
磐正5P31J V40型主板说明书:[2]
阅读量:109
猜你喜欢
个人表现怎么写
启辰t70怎么样
苹果笔记本电脑怎么样
医院怎么分等级
小传怎么写
索芙特洗发水怎么样
肛周脓肿怎么治疗
爱奇艺怎么切换账号
四川大学锦城学院怎么样
背带裤怎么穿
猜你喜欢
怎么查看电脑内存
荣威rx5怎么样
怎么去香港
盆腔积液是怎么回事
肩膀疼是怎么回事
孕妇流鼻血是怎么回事
怎么瘦脸上的肉
孩子高烧不退怎么办
hermes怎么读
怎么知道自己怀孕