指南经验网
首页
美食营养
生活百科
知识问答
生活知识
返回
指南经验网
首页
美食营养
游戏数码
手工爱好
生活知识
生活百科
健康养生
运动户外
职场理财
情感交际
母婴教育
时尚美容
知识问答
更多知识
搜索
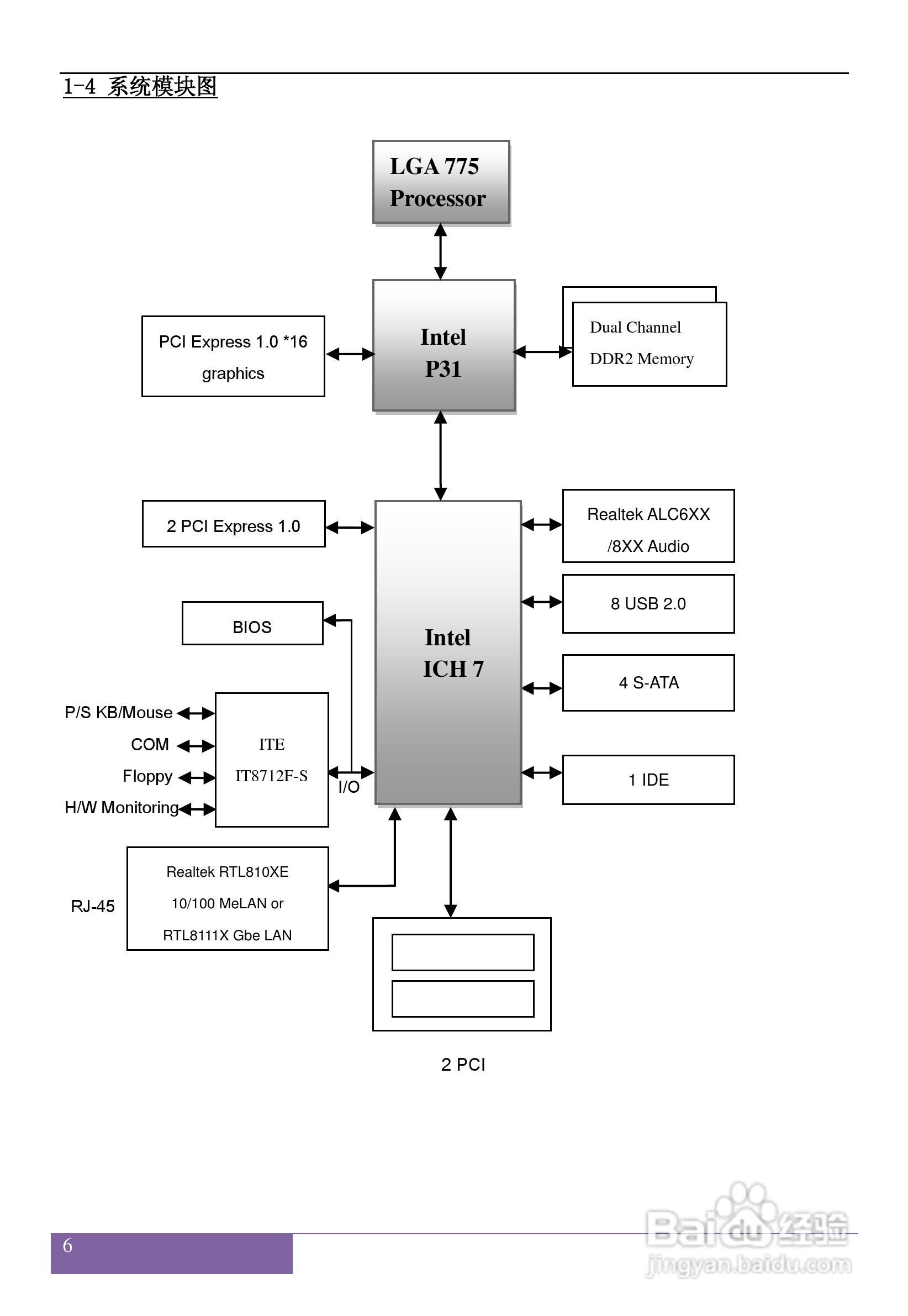
磐正5P31J V40型主板说明书:[1]
2026-04-21 22:24:07
本篇为《磐正5P31J V40型主板说明书》,主要介绍该产品的使用方法以及常见故障解决方案。
(共篇)
下一篇:
相关推荐
磐正5P31J V40型主板说明书:[4]
阅读量:30
主板电源线怎么接组装电脑电源线接法
阅读量:83
磐正5P31J V40型主板说明书:[2]
阅读量:147
磐正5P31J V40型主板说明书:[3]
阅读量:47
磐正AGF68 V40型主板说明书:[2]
阅读量:102
猜你喜欢
茶花的养殖方法和注意事项
asp是什么
indeed是什么意思
alive是什么意思
运动会小报
by2当年出了什么事
亚健康是什么意思
地球的运动
运动会加油稿50字左右
遥不可及是什么意思
猜你喜欢
经期喝什么好
螃蟹养殖技术
什么牌子的电视好
什么是寿险
反驳的反义词是什么
琴瑟之好什么意思
蒸鱼豉油是什么
suit什么意思
14是什么意思
馕是什么