指南经验网
首页
美食营养
生活百科
知识问答
生活知识
返回
指南经验网
首页
美食营养
游戏数码
手工爱好
生活知识
生活百科
健康养生
运动户外
职场理财
情感交际
母婴教育
时尚美容
知识问答
更多知识
搜索
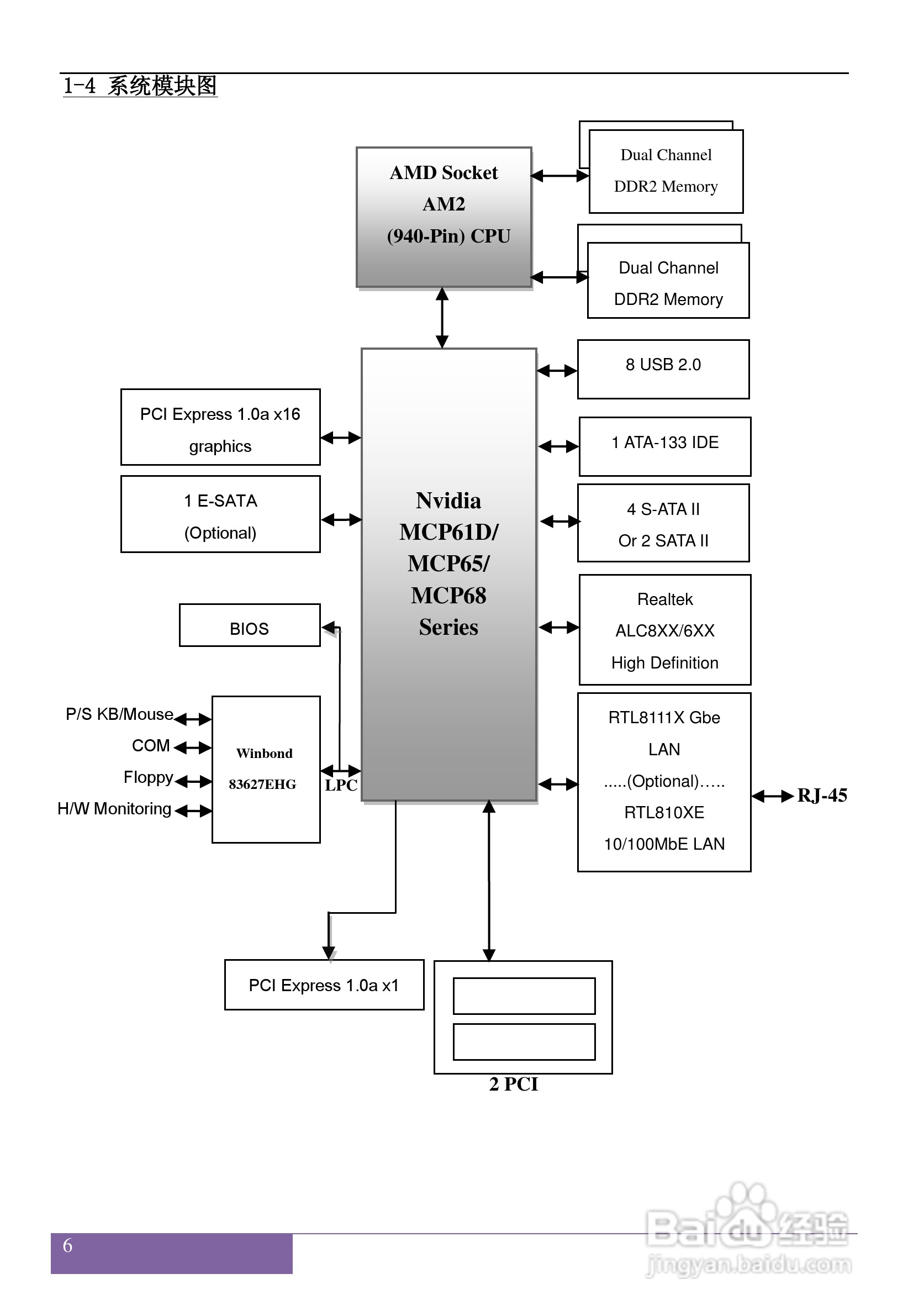
磐正AGF68 V40型主板说明书:[1]
2026-04-21 20:51:08
本篇为《磐正AGF68 V40型主板说明书》,主要介绍该产品的使用方法以及常见故障解决方案。
(共篇)
下一篇:
相关推荐
磐正AGF68 V40型主板说明书:[4]
阅读量:21
主板的结构说明
阅读量:135
主板安装cpu教程
阅读量:134
主板电源线怎么接组装电脑电源线接法
阅读量:45
主板电路图纸分解教程
阅读量:43
猜你喜欢
什么立什么群
债转股是什么意思
感叹号是什么意思
什么的水花
什么是记叙文
同妻是什么意思
certainly是什么意思
leg是什么意思
精气神是什么意思
湖南湖北以什么湖为界
猜你喜欢
穷兵黩武是什么意思
什么地什么
熙字五行属什么
md是什么意思
生蛇是什么病
lover什么意思
称谓是什么意思
高考成绩什么时候出来
光伏是什么
iso是什么意思